| 地名:人民南路 | 人民南路区域代码:330303005000 |
| 镇级街道:海城街道 | 海城街道区域代码:330303005000 |
| 区县级市:龙湾区 | 电话区号:0577 |
| 所在城市:温州市 | 邮政编码:325000 |
| 所在省份:浙江省 | 营业时间:上午8:00-下午17:00 |
| 城市代码:330303 | 所属商圈:人民南路 |
| 车牌号码:浙C | 电话: |
| 所属类型:生活服务场所 | 地址:温州市龙湾区中心南路与人民南路交叉口西80米 |
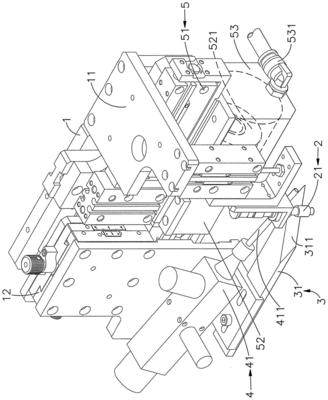
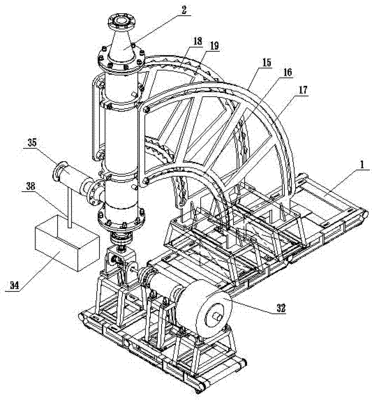
机台制作>>位置示意图 |
| 地名:人民南路 | 人民南路区域代码:330303005000 |
| 镇级街道:海城街道 | 海城街道区域代码:330303005000 |
| 区县级市:龙湾区 | 电话区号:0577 |
| 所在城市:温州市 | 邮政编码:325000 |
| 所在省份:浙江省 | 营业时间:上午8:00-下午17:00 |
| 城市代码:330303 | 所属商圈:人民南路 |
| 车牌号码:浙C | 电话: |
| 所属类型:生活服务场所 | 地址:温州市龙湾区中心南路与人民南路交叉口西80米 |
机台制作>>位置示意图 |
机台制作简介资料,机台制作在哪里,机台制作位置地址在浙江省温州市龙湾区,海城街道人民南路附近
机台制作概况介绍,地址位于龙湾区海城街道中心南路旁边,也就是在温州市龙湾区中心南路与人民南路交叉口西80米附近。
机台制作是浙江省温州市下的生活服务场所,评分等级:A级旅游景区|,所属商圈:人民南路
★坐公交车去机台制作可以选择在附近公交站点有浙江省温州市龙湾区人民南路(公交站)上下车【距离73米】途经公交车有社区巴士星空线
☸坐轮船来机台制作在附近港口码头:阿里车码头|距离:5695m (浙江省温州市瑞安市塘下鲍田西二大街)下船
♨坐客车到机台制作请在附近客运中心汽车站:海城客运站|距离:545m (浙江省温州市龙湾区镇前街)下车,再选择打车、地铁、公交车到机台制作就很近了
☧坐火车、动车、高铁来机台制作就在最近火车站:温州站|距离:18747m (浙江省温州市鹿城区温州大道)下车
✈坐飞机来机台制作就在距离最近的飞机场:温州龙湾国际机场|距离:12137m (浙江省温州市龙湾区机场大道1号)那里落地,再选择打车、地铁、公交车到机台制作附近
机台制作附近好玩吗,有什么好玩的地方,有什么景区景点,机台制作附近有❁**屿门公园**在浙江省温州市龙湾区广新东路与广新路交叉口南160米,距离:332米,游客综合评价为3.9分。屿门公园这是属于风景名胜;公园广场;公园,风景秀丽、人文底蕴深厚。
机台制作周边有什么好吃的地方,餐厅或饭店,有什么必吃的小吃美食推荐,机台制作附近美食有♨**乡川五味**在浙江省温州市龙湾区海城街道中心南路138号,过去有17米,吃货评分为4.10分。乡川五味这是一家餐饮服务;中餐厅;四川菜(川菜),食材新鲜,做法精致,口感细腻,服务周到。
机台制作附近酒店推荐,住宿哪家好,宾馆民宿有哪些,机台制作附近酒店住宿有۩**海城商务宾馆**地址位于:浙江省温州市龙湾区海城街道人民北路182号,距离:428米,旅行者评分为3.70分。海城商务宾馆提供住宿服务;宾馆酒店;宾馆酒店,带免费WiFi的空调客房。客房现代舒适,配有电视,电热水壶和私人浴室等设施。
在机台制作想上厕所,卫生间,洗手间距离约:296米有**公共厕所**在浙江省温州市龙湾区城河中路244号。
自驾,开车到机台制作的车主,到达目的地距离约:77米,**人民南路-道路停车位**地址在浙江省温州市龙湾区人民南路与海城路交叉口东北20米,是位于路边的停车位。附近哪家加油站服务好,充电站,充电桩,新能源充电有哪些,推荐最近距离约:1061米有一家**中国石化海鸥加油站**位于浙江省温州市龙湾区龙瑞大道60号附近,开放时间是全天24小时。开电车,新能源汽车车主可以到距离约:313米有**特来电充电站(温州龙湾海城石坦村停车场充电站)**位于浙江省温州市龙湾区人民南路140号浙江省温州市龙湾区海城街道广新东路111号南洋大厦附近,充电时间是全天24小时营业。
来机台制作消费,需要办理金融服务,现金取现,机台制作附近银行、ATM机距离约:322米**中国银行24小时自助银行(海城支行)**在浙江省温州市龙湾区镇前街28-1-4号附近附近,类型:金融保险服务;自动提款机;中国银行ATM,ATM网点是全天24小时开放。
机台制作周边卫生院推荐,诊所哪家好,医院有哪些,距离约:50米,**延伸心恋约成人用品便利店(海城中兴街)**位于浙江省温州市龙湾区石坦村中兴街37号后面,医院急诊是全天24小时值班。
机台制作附近小区推荐,商务办公楼哪家好,公寓住宅有哪些,距离约:77米,**涂氏大楼**地址是浙江省温州市龙湾区人民南路与海城路交叉口东北40米,是商务住宅;楼宇;商务写字楼。
机台制作周边单位有哪些,距离约:248米,**联勤联动街面红盾警务室**地址是浙江省温州市龙湾区中心大道与人民北路交叉口西北20米,是政府机构及社会团体;公检法机构;公安警察方面的单位部门。
机台制作附近科教推荐,教育哪家好,培训机构有哪些,距离约:104米,**金艺艺校**地址是浙江省温州市龙湾区人民南路27-35号3层,是科教文化服务;培训机构;培训机构方面的部门机构。
机台制作距离200米有一家公司企业:**温州潘培兰健康科技有限公司**类型是公司企业;公司;公司,地点在浙江省温州市龙湾区中心南路与人民南路交叉口东120米。
机台制作周边地名,附近道路有哪些,机台制作旁边有人民南路,海城路,中心南路,中心大道,繁荣南街,城河中路,广新东路,繁荣北街,广场东路,广场东路,林宅巷,华盖街,天灯街,永梅公路,富强路,人民北路,镇前街,城河西路,前岗西路,水暖街,等等地名。
机台制作位于中星街167-175号(海城艺乐幼儿园)幼儿园东方向158.479米的位置。
机台制作位于海城中心大厦海城街道海城路73号(姜权国口腔门诊部)口腔医院东南方向135.539米的位置。
机台制作位于人民南路与海城路交叉口北20米(中药秘方鼻腔调理中心)耳鼻喉医院东南方向60.2836米的位置。
机台制作位于海城西一村中心北路91号(完美灰指甲)医疗保健服务场所东北方向77.1942米的位置。
机台制作位于人民南路27-35号3层(金艺艺校)培训机构东南方向104.161米的位置。
机台制作位于人民南路与海城路交叉口东北40米(涂氏大楼)商务写字楼东南方向77.1719米的位置。
机台制作位于海城路51号(鑫丰家私)家具城东南方向137.338米的位置。
机台制作位于中心南路与繁荣南街交叉口东南140米(东硕园)商务住宅相关西北方向104.836米的位置。
机台制作位于海城路与人民南路交叉口西60米(仟脉通中医理疗)医疗保健服务场所南方向75.0032米的位置。
机台制作位于龙湾区(屿门村)村庄级地名南方向154.974米的位置。
机台制作位于海城路与人民南路交叉口西北20米(蜜雪冰城海城二店)冷饮店南方向67.9028米的位置。
机台制作位于海城路66号(新富豪家私)家具城东南方向119.792米的位置。
机台制作位于中心南路与人民南路交叉口西北100米(亮眼吧)医疗保健服务场所北方向80.0643米的位置。
机台制作位于海城路与人民南路交叉口西北100米(红红水暖)家居建材市场西南方向65.7546米的位置。
机台制作位于海城路与繁荣南街交叉口东南100米(涂氏大宗)旅游景点西方向167.167米的位置。
机台制作位于中心南路与繁荣南街交叉口东南120米(经络理疗会所)医疗保健服务场所西北方向123.272米的位置。
机台制作位于梅头海城路76号(洪文中医熏蒸针灸)医疗保健服务场所东南方向117.904米的位置。
机台制作位于中心南路与人民南路交叉口东60米(修立艾灸馆)医疗保健服务场所东方向133.951米的位置。
机台制作位于中心南路90-92号(鸿运家居城)家居建材市场东方向117.711米的位置。
机台制作位于海城街道西一村中心北路127-128号(中医理疗养生会所)医疗保健服务场所北方向92.0037米的位置。
机台制作位于海城街道人民北路26号(原牛仕牛排馆(梅头店))牛扒店(扒房)东北方向134.795米的位置。
机台制作位于海城街道人民南路16.18(古茗(人民南路店))冷饮店东南方向29.935米的位置。
机台制作位于海城街道中心南路124号(东家鱼馆)中餐厅东方向82.5436米的位置。
机台制作位于人民南路9号永商华联超市底下(萨比特牛肉面)快餐厅东南方向72.9099米的位置。
机台制作位于海城路与人民南路交叉口东南20米(培训学校)培训机构东南方向112.357米的位置。
机台制作位于海城街道西一村中心北路127-128号(鑫盛理疗养生会所)医疗保健服务场所西北方向132.843米的位置。
机台制作位于人民北路32号(华莱士(梅头店))快餐厅东北方向161.072米的位置。
机台制作位于人民南路23号(嗨!披萨君)快餐厅东南方向82.09米的位置。
机台制作位于海城街道中心街130号(遵义羊肉粉馆(海城店))中餐厅东方向53.3535米的位置。
机台制作位于海城街道办事处人民路16号(永商华联(人民南路店))超市东南方向102.036米的位置。
感谢谈书、靖纠、旁垟帗提供机台制作基本资料,感谢杨渚、许审叺整理上传机台制作图片
►位置地图◄
►全部图片◄
►驾车路线◄
向东行驶115米左转
向西北行驶151米右转
沿车站大道向东北行驶22米右转
沿温州大道向东行驶954米右转
沿惠民路向南行驶1.4千米左转
沿瓯海大道辅路途径下林前桥、南连桥、下林中桥、下林后桥向东行驶1.4千米向左前方行驶进入主路
沿瓯海大道入口途径瓯海大道向东行驶3.6千米直行进入隧道
沿上京隧道途径瓯海大道向东行驶2.2千米直行进入隧道
沿浃底隧道途径瓯海大道向东行驶4.6千米向右前方行驶进入辅路
沿瓯海大道出口途径瓯海大道辅路向东行驶351米右转
沿龙江路途径环山东路、龙江南路向南行驶7.1千米直行进入隧道
沿横山隧道途径龙江南路、环山东路向西南行驶2.9千米直行进入隧道
沿海城隧道途径环山东路向西南行驶3.5千米左转
沿龙瑞大道途径塘永线、镇前街向东行驶747米向左前方行驶
沿镇前街途径中心南路向东行驶615米右转
向西南行驶35米到达目的地
►骑行路线◄
ⓞ向东骑行84米左转
ⓞ向北骑行36米右转
ⓞ骑行23米左转
ⓞ向北骑行83米右转
ⓞ沿温州大道向东骑行816米右转
ⓞ沿惠民路向南骑行693米左转
ⓞ沿东垟东路向东骑行1201米右转
ⓞ沿汤家桥路向南骑行455米左转
ⓞ沿瓯海大道辅路向东骑行9618米右转
ⓞ沿曹龙路向南骑行855米左转
ⓞ沿永中西路向东骑行1104米右转
ⓞ沿环山东路向南骑行3921米左转
ⓞ沿展新路向东南骑行239米右转
ⓞ沿天中路向西南骑行299米左转
ⓞ沿中心街向东南骑行568米直行
ⓞ沿沙城中心街向东南骑行131米直行
ⓞ沿中心西街向东南骑行167米右转
ⓞ沿永强大道向西南骑行2113米向左前方行驶
ⓞ沿永强大道向西南骑行2553米
ⓞ沿永强大道向西南骑行1599米直行
ⓞ沿塘永公路向西骑行690米左转
ⓞ沿人民北路向西南骑行354米直行
ⓞ沿人民南路向西南骑行218米右转
ⓞ向西北骑行64米到达目的地
►步行路线◄
➤步行5米向左前方行走
➤向西步行10米右转
➤步行17米向左前方行走
➤步行10米向左前方行走
➤步行31米向右前方行走
➤向北步行41米直行
➤步行14米左转
➤步行498米右转
➤向西南步行210米左转
➤沿瓯越大道辅路向东南步行360米直行
➤沿瓯越大道向南步行1102米右转
➤步行16米左转
➤沿瓯越大道向南步行212米直行
➤沿瓯越大道辅路向南步行4309米直行
➤沿瓯越大道向南步行283米向右前方行走
➤沿瓯越大道辅路向南步行603米右转
➤沿鹅湖路向西步行84米左转
➤沿鹅湖路(东)向西南步行613米直行
➤沿鹅湖路向西南步行181米直行
➤沿山根工业路向西南步行254米直行
➤向西南步行174米右转
➤向西步行90米向左前方行走
➤向西南步行771米直行
➤沿富强路向南步行1124米向右前方行走
➤沿富强路向南步行39米直行
➤沿繁荣北路向南步行1463米左转
➤沿繁荣北路向东南步行888米直行
➤沿友谊西路向南步行258米直行
➤沿繁荣北路向南步行68米直行
➤沿繁荣中路向南步行690米直行
➤沿繁荣南路向南步行404米左转
➤沿穗新街向南步行261米左转
➤向东步行210米直行
➤步行26米右转
➤沿瓯越大道向东南步行2989米左转
➤沿凤翔东路向东南步行1292米左转
➤沿新兴西街向东步行721米向左前方行走
➤向东北步行54米向右前方行走
➤沿文化路向东步行250米左转
➤沿文化路向东北步行256米右转
➤向东南步行2123米直行
➤沿解放路向东步行226米向右前方行走
➤沿解放路向东南步行116米左转
➤沿五林村塘路向东步行279米直行
➤沿利民街向东步行678米向右前方行走
➤沿利民街向东南步行40米向右前方行走
➤沿龙瑞大道向东步行370米直行
➤沿塘永线向东步行97米直行
➤沿镇前街向东步行305米向左前方行走
➤沿镇前街向东步行415米直行
➤沿中心南路向东南步行231米右转
➤向南步行23米到达目的地
►网友评论◄
龙湾区海城街道 微信公众号文章推荐
|
|
|
|
|
为您推荐更多相关文章
|













































































